Orion 53700, Diesel-jakelusarja 220 V
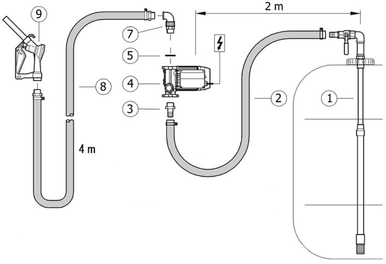
Sähköpumppu: 220 V, 70 l / min. Jakeluletkun pituus: 4 m.
Toimitus 14 arkipäivässä
- Sarja sisältää: 220 V / 70 l / min sähköpumppu on/off kytkimellä ja 1,8 metrin syöttökaapelilla
- Seinäkiinnike
- Jakeluletku: 4 m
- Automaattinen jakelupistooli
- Jakelumittari
- Tuloliitäntä 1 BSP (f)



